Официальный дилер Tech-Krep по Самарской области в г.Тольятти, ул. Обводная 3Г.
DIN 908 — пробка (заглушка) с фланцем, с метрической или дюймовой резьбой и внутренним шестигранником. Заглушки DIN 908 используются в машиностроении, приборостроении и прочих промышленных и производственных отраслях.
Пробки фланцевые DIN 908 производятся из углеродистой стали, нержавеющей стали А2 и А4, латуни.
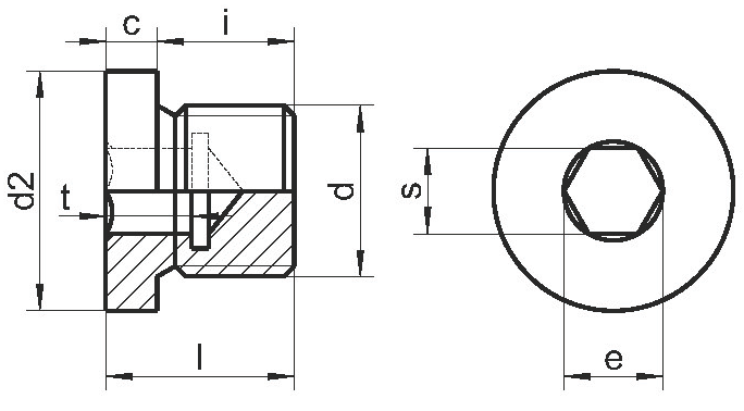
Ниже приведены основные размеры и характеристики заглушки DIN 908.
Аналоги: ГОСТ 2С98-4-73
| d | d2 | s | e | l ≈ | t | c | i | Материал | 
| G1/8" | 14 | 5 | 5.7 | 11 | 5 | 3 | 8 | A2 A4 | 
| G1/4" | 18 | 6 | 6.9 | 15 | 7 | 3 | 12 | A2 A4 | 
| G3/8" | 22 | 8 | 9.2 | 15 | 7.5 | 3 | 12 | A2 A4 | 
| G1/2" | 26 | 10 | 11.4 | 18 | 7.5 | 4 | 14 | A2 A4 | 
| G3/4" | 32 | 12 | 13.7 | 20 | 9 | 4 | 16 | A2 A4 | 
| G1" | 39 | 17 | 19.4 | 21 | 9 | 5 | 16 | A2 A4 | 
| G1 1/4" | 49 | 22 | 25.2 | 21 | 10.5 | 5 | 16 | A2 A4 | 
| G1 1/2" | 55 | 24 | 27.4 | 21 | 10.5 | 5 | 16 | A2 A4 | 
| G1 3/4" | 62 | 32 | 36.6 | 25 | 14 | 5 | 20 | A2 A4 | 
| G2" | 68 | 32 | 36.6 | 25 | 14 | 5 | 20 | A2 A4 | 

На нашем складе доступны более 30 000 наименований крепежа и метизов: анкера (рамные, клиновые, забивные, анкерные болты), саморезы (универсальные, по дереву, по бетону, по металлу, по ГКЛ), дюбели (фасадные, для теплоизоляции, дюбель-гвозди, универсальные и др.), метрический крепеж (болты, гайки, шайбы), а также специальный крепеж (биты, шпильки, заклепки, крепеж для кровли, сэндвич-панелей, для производства окон) и такелаж (тросы, цепи, талрепы, коуши и др.). Весь товар сертифицирован.