Официальный дилер Tech-Krep по Самарской области в г.Тольятти, ул. Обводная 3Г.
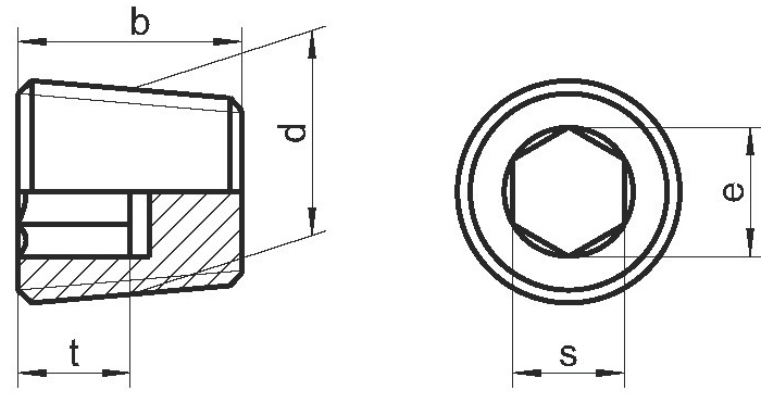
Пробка (или как ее еще называют, заглушка) представляет собой некое изделие с углублением под ключ в виде шестигранника. Коническая форма позволяет использовать его еще более эффективно. Пробка DIN 906 выполняется в двух вариантах – с конической мелкой метрической резьбой и с трубной дюймовой резьбой.
Пробку стандарта DIN 906 также иногда называют резьбовая пробка или резьбовая пробка с внутренним шестигранником под ключ. Применяется такой крепежный элемент для временного или постоянного закрытия технических отверстий, путем закручивания. Причем закручивание может осуществляться при помощи гайковерта или специального шестигранного ключа.
| d | s | e | b | t | Материал |
| M8X1 | 4 | 4.6 | 8 | 4 | A2 A4 |
| M10X1 | 5 | 5.7 | 8 | 4 | A2 A4 |
| M12X1,5 | 6 | 6.9 | 10 | 5 | A2 A4 |
| M14X1,5 | 7 | 8 | 10 | 5 | A2 A4 |
| M16X1,5 | 8 | 9.2 | 10 | 5 | A2 A4 |
| M18X1,5 | 8 | 9.2 | 10 | 5 | A2 A4 |
| M20X1,5 | 10 | 11.4 | 10 | 5 | A2 A4 |
| M22X1,5 | 10 | 11.4 | 10 | 5 | A2 A4 |
| M24X1,5 | 12 | 13.7 | 12 | 6 | A2 A4 |
| M26X1,5 | 12 | 13.7 | 12 | 6 | A2 A4 |
| M27X2 | 12 | 13.7 | 12 | 6 | A2 A4 |
| M30X1,5 | 17 | 19.4 | 12 | 6 | A2 A4 |
| M36X1,5 | 19 | 21.7 | 15 | 7.5 | A2 A4 |

На нашем складе доступны более 30 000 наименований крепежа и метизов: анкера (рамные, клиновые, забивные, анкерные болты), саморезы (универсальные, по дереву, по бетону, по металлу, по ГКЛ), дюбели (фасадные, для теплоизоляции, дюбель-гвозди, универсальные и др.), метрический крепеж (болты, гайки, шайбы), а также специальный крепеж (биты, шпильки, заклепки, крепеж для кровли, сэндвич-панелей, для производства окон) и такелаж (тросы, цепи, талрепы, коуши и др.). Весь товар сертифицирован.