Официальный дилер Tech-Krep по Самарской области в г.Тольятти, ул. Обводная 3Г.
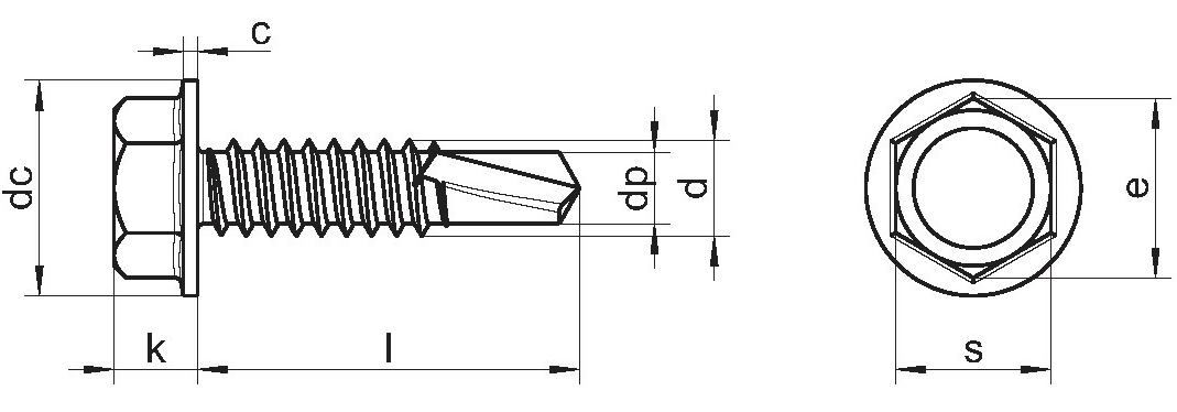
Саморезы нержавеющие сверлоконечные, форма К DIN 7504 K с шестигранной головкой с фланцем – изделие используется для крепления различных, зачастую листовых, материалов к металлу. При суммарной толщине скрепляемых материлов до 4* мм конструкция метиза, а именно наличие сверлового наконечника, позволяет обойтись без предварительного сверления. Самонарезающий винт имеет глухую безшлицевую шестигранную головку с неотъемной пресс-шайбой (фланцем). Это значительно повышает площадь контакта головки шурупа с соединяемой поверхностью. Для улучшения герметизации рекомендуется использовать самонарезающие винты совместно с EPDM шайбой.
Саморезы нержавеющие сверлоконечные, форма К DIN 7504 K с шестигранной головкой с фланцем монтируют с помощью рожковых или накидных ключей. Допускается применение электрических гайковертов с контролем момента затяжки. Шестигранная головка дает возможность приложить наибольшее затягивающее усилие для формирования максимально надежного крепления.
Длина изделия составляет 9,5 – 130 мм, при диаметре пресс-шайбы: от 8,3 до 13,5 мм. В зависимости от величины изделия толщина фланца может быть: 0,6 мм, 0,9 мм или 1 мм. Что обеспечивает надёжное прилегание пресс-шайбы к прикрепляемому материалу, особенно при использовании дополнительных уплотнительных колец.
* - суммарная толщина изделий, которые способен беспрепятственно просверлить самонарезающий сверлоконечный винт форма K DIN 7504 K, зависит от типа материала и его прочности. Уточняйте возможность винта с учётом ваших параметров в техническом отделе BEST-Крепёж.
| dp | 2,8 | 3,1 | 3,6 | 4,1 | 4,8 | 5,8 | 
| s | 5,5 | 5,5 | 7 | 8 | 8 | 10 | 
| c | 0,6 | 0,6 | 0,9 | 0,9 | 1 | 1 | 
| k | 3,4 | 3,4 | 4,1 | 4,3 | 5,4 | 5,9 | 
| dc max | 8,3 | 8,3 | 8,8 | 10,5 | 11 | 13,5 | 
| e | 5,96 | 5,96 | 7,59 | 8,71 | 8,71 | 10,95 | 
| Длина / d | ST3,5 | ST3,9 | ST4,2 | ST4,8 | ST5,5 | ST6,3 | 
| 9.5 | A2 | A2 | A2 | A2 | A2 | |
| 13 | A2 | A2 | A2 | A2 | A2 | |
| 16 | A2 | A2 | A2 | A2 | A2 | |
| 19 | A2 | A2 | A2 | A2 | A2 | A2 | 
| 22 | A2 | A2 | A2 | A2 | A2 | A2 | 
| 25 | A2 | A2 | A2 | A2 | A2 | A2 | 
| 32 | A2 | A2 | A2 | A2 | A2 | |
| 35 | A2 | A2 | A2 | A2 | A2 | |
| 38 | A2 | A2 | A2 | A2 | A2 | |
| 45 | A2 | A2 | A2 | |||
| 50 | A2 | A2 | A2 | |||
| 60 | A2 | |||||
| 70 | A2 | |||||
| 85 | A2 | |||||
| 90 | A2 | |||||
| 100 | A2 | |||||
| 110 | A2 | |||||
| 120 | A2 | |||||
| 130 | A2 | 

На нашем складе доступны более 30 000 наименований крепежа и метизов: анкера (рамные, клиновые, забивные, анкерные болты), саморезы (универсальные, по дереву, по бетону, по металлу, по ГКЛ), дюбели (фасадные, для теплоизоляции, дюбель-гвозди, универсальные и др.), метрический крепеж (болты, гайки, шайбы), а также специальный крепеж (биты, шпильки, заклепки, крепеж для кровли, сэндвич-панелей, для производства окон) и такелаж (тросы, цепи, талрепы, коуши и др.). Весь товар сертифицирован.