Официальный дилер Tech-Krep по Самарской области в г.Тольятти, ул. Обводная 3Г.
Уменьшенные плоские шайбы для винтов с цилиндрической головкой DIN 433 – изделия применяют в качестве промежуточного элемента между нижней частью винта и поверхностью скрепляемой детали. Они выполняют следующие функции:
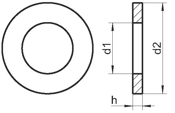
Уменьшенные плоские шайбы для винтов с цилиндрической головкой DIN 433 имеют следующие конструкционные отличия: диаметр внутри кольца 1,5 – 21 мм для крепежных элементов с резьбой от М14 до М20. Внешний диаметр изделия в диапазоне 3-34 мм. Основной отличительной особенностью является небольшая толщина, составляющая 0,3 – 3 мм. В качестве материала используется нержавеющая сталь марок А2 или А4.
Уменьшенному варианту шайбы отдается предпочтение в двух случаях: когда крепежному элементу не хватает длины стержня для надежного соединения и, если требуется максимально скрыть головку метиза, но при этом использование шайбы технологически необходимо.
Аналоги: ГОСТ 10450-78, ISO 7092
| d1 | Для резьбы | d2 | h | Материал |
| 1.5 | M1,4 | 3 | 0.3 | A2 A4 |
| 1.7 | M1,6 | 3.5 | 0.3 | A2 A4 |
| 2.2 | M2 | 4.5 | 0.5 | A2 A4 |
| 2.7 | M2,5 | 5 | 0.5 | A2 A4 |
| 3.2 | M3 | 6 | 0.5 | A2 A4 |
| 3.7 | M3,5 | 7 | 0.5 | A2 A4 |
| 4.3 | M4 | 8 | 0.5 | A2 A4 |
| 5.3 | M5 | 9 | 1 | A2 A4 |
| 6.4 | M6 | 11 | 1.6 | A2 A4 |
| 8.4 | M8 | 15 | 1.6 | A2 A4 |
| 10.5 | M10 | 18 | 1.6 | A2 A4 |
| 13 | M12 | 20 | 2 | A2 A4 |
| 15 | M14 | 24 | 2.5 | A2 A4 |
| 17 | M16 | 28 | 2.5 | A2 A4 |
| 19 | M18 | 30 | 2.5 | A2 A4 |
| 21 | M20 | 34 | 3 | A2 A4 |

На нашем складе доступны более 30 000 наименований крепежа и метизов: анкера (рамные, клиновые, забивные, анкерные болты), саморезы (универсальные, по дереву, по бетону, по металлу, по ГКЛ), дюбели (фасадные, для теплоизоляции, дюбель-гвозди, универсальные и др.), метрический крепеж (болты, гайки, шайбы), а также специальный крепеж (биты, шпильки, заклепки, крепеж для кровли, сэндвич-панелей, для производства окон) и такелаж (тросы, цепи, талрепы, коуши и др.). Весь товар сертифицирован.