Официальный дилер Tech-Krep по Самарской области в г.Тольятти, ул. Обводная 3Г.
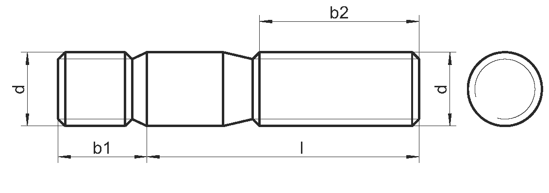
Шпилька А2 DIN 939 с ввинчиваемым концом ~ 1,25d – является крепежным изделием, с обеих сторон которого нарезана резьба одного диаметра, но разной длины. Каждая из них имеет собственное назначение: одна, более короткая предназначена для ввинчивания в основание. В то время как на вторую резьбу накручивают гайку. Так называемая «гаечная» резьба, зависит от длины стержня самого изделия 16 – 150 мм, и длина её может составлять до 72 мм. Резьбовая часть шпильки, которая предназначена для ввинчивания в основание, строго привязана к диаметру стержня, который колеблется в пределах М6 – М30. При этом она составляет 1,25 диаметра стержня: от 7,5 до 38 мм.
Шпилька А2 DIN 939 с ввинчиваемым концом ~ 1,25d изготовлена из высоколегированной стали марки А2 или А4, это дает возможность крепить ввинчиваемый конец в отверстия изделий, сделанных из серого или ковкого чугуна, латуни, алюминиевых сплавов, бронзы и других мягких металлов. Что позволяет использовать одну часть стержня в виде постоянного анкерного крепления, а другую в виде направляющего крепежа для крышек, разборных корпусов и т. п. которые необходимо периодически открывать. Такой крепёжный узел получил широкое распространение в станкостроении и строительстве. Использование нержавеющей, химически устойчивой, стали позволяет применять шпильку А2 DIN 939 в агрессивных средах, не опасаясь возникновения коррозии.
Аналоги: ГОСТ 22034-76, ГОСТ 22035-76
| b2 (l≤125) | 18 | 22 | 26 | 30 | 38 | 46 | 54 | 66 | 
| b2 (l>125) | 24 | 28 | 32 | 36 | 44 | 52 | 60 | 72 | 
| b1 | 7.5 | 10 | 12 | 15 | 20 | 25 | 30 | 38 | 
| Длина / d | M6 | M8 | M10 | M12 | M16 | M20 | M24 | M30 | 
| 16 | A2 A4 | |||||||
| 20 | A2 A4 | A2 A4 | A2 A4 | A2 A4 | ||||
| 25 | A2 A4 | A2 A4 | A2 A4 | A2 A4 | ||||
| 30 | A2 A4 | A2 A4 | A2 A4 | A2 A4 | A2 A4 | |||
| 35 | A2 A4 | A2 A4 | A2 A4 | A2 A4 | A2 A4 | |||
| 40 | A2 A4 | A2 A4 | A2 A4 | A2 A4 | A2 A4 | A2 A4 | ||
| 45 | A2 A4 | A2 A4 | A2 A4 | A2 A4 | A2 A4 | A2 A4 | A2 A4 | |
| 50 | A2 A4 | A2 A4 | A2 A4 | A2 A4 | A2 A4 | A2 A4 | A2 A4 | |
| 55 | A2 A4 | A2 A4 | A2 A4 | A2 A4 | A2 A4 | A2 A4 | A2 A4 | |
| 60 | A2 A4 | A2 A4 | A2 A4 | A2 A4 | A2 A4 | A2 A4 | A2 A4 | A2 A4 | 
| 65 | A2 A4 | A2 A4 | A2 A4 | A2 A4 | A2 A4 | A2 A4 | A2 A4 | A2 A4 | 
| 70 | A2 A4 | A2 A4 | A2 A4 | A2 A4 | A2 A4 | A2 A4 | A2 A4 | A2 A4 | 
| 75 | A2 A4 | A2 A4 | A2 A4 | A2 A4 | A2 A4 | A2 A4 | A2 A4 | |
| 80 | A2 A4 | A2 A4 | A2 A4 | A2 A4 | A2 A4 | A2 A4 | A2 A4 | |
| 85 | A2 A4 | A2 A4 | A2 A4 | A2 A4 | A2 A4 | A2 A4 | A2 A4 | |
| 90 | A2 A4 | A2 A4 | A2 A4 | A2 A4 | A2 A4 | A2 A4 | A2 A4 | |
| 100 | A2 A4 | A2 A4 | A2 A4 | A2 A4 | A2 A4 | A2 A4 | ||
| 110 | A2 A4 | A2 A4 | A2 A4 | A2 A4 | A2 A4 | A2 A4 | ||
| 120 | A2 A4 | A2 A4 | A2 A4 | A2 A4 | A2 A4 | A2 A4 | ||
| 125 | A2 A4 | A2 A4 | A2 A4 | A2 A4 | A2 A4 | |||
| 130 | A2 A4 | A2 A4 | A2 A4 | A2 A4 | A2 A4 | |||
| 140 | A2 A4 | A2 A4 | A2 A4 | |||||
| 150 | A2 A4 | A2 A4 | A2 A4 | 

На нашем складе доступны более 30 000 наименований крепежа и метизов: анкера (рамные, клиновые, забивные, анкерные болты), саморезы (универсальные, по дереву, по бетону, по металлу, по ГКЛ), дюбели (фасадные, для теплоизоляции, дюбель-гвозди, универсальные и др.), метрический крепеж (болты, гайки, шайбы), а также специальный крепеж (биты, шпильки, заклепки, крепеж для кровли, сэндвич-панелей, для производства окон) и такелаж (тросы, цепи, талрепы, коуши и др.). Весь товар сертифицирован.