Официальный дилер Tech-Krep по Самарской области в г.Тольятти, ул. Обводная 3Г.
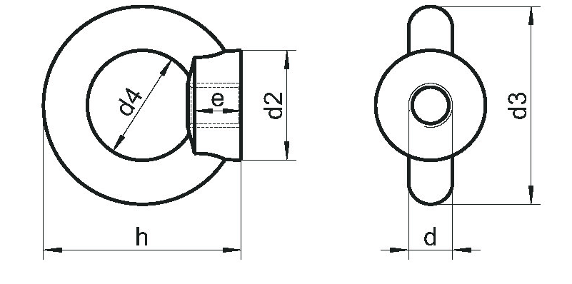
Это кованое изделие конструктивно представляет собой кольцо с основанием, в котором имеется резьбовое отверстие. В кольцо в процессе эксплуатации пропускаются цепи, канаты, тали и другие соединительные элементы.
Наличие резьбы позволяет накручивать рым-гайку на метизы штыревого типа, обеспечивая при этом достаточную надежность соединения. Подобный крепеж отличается не только предельной простотой конструкции, но и способностью переносить значительные нагрузки в процессе транспортировки или вывешивания разнообразных грузов.
Требованиями к рым-гайкам ART 582 предусматривается использование при их производстве нержавеющих сталей, но с целью снижения себестоимости изделия зачастую применяется конструкционная сталь с дополнительным цинкованием поверхности, обеспечивающим защиту металла от агрессивного воздействия внешних факторов природного характера.
| d | d2 | d3 | d4 | h | e | Материал | 
| M6 | 20 | 36 | 20 | 36 | 8.5 | A2 A4 | 
| M8 | 20 | 36 | 20 | 36 | 8.5 | A2 A4 | 
| M10 | 25 | 45 | 25 | 45 | 10 | A2 A4 | 
| M12 | 30 | 54 | 30 | 53 | 11 | A2 A4 | 
| M16 | 35 | 63 | 35 | 62 | 13 | A2 A4 | 
| M20 | 40 | 72 | 40 | 71 | 16 | A2 A4 | 
| M24 | 50 | 90 | 50 | 90 | 20 | A2 A4 | 
| M30 | 65 | 108 | 60 | 109 | 25 | A2 A4 | 
| M36 | 75 | 126 | 70 | 128 | 30 | A2 A4 | 

На нашем складе доступны более 30 000 наименований крепежа и метизов: анкера (рамные, клиновые, забивные, анкерные болты), саморезы (универсальные, по дереву, по бетону, по металлу, по ГКЛ), дюбели (фасадные, для теплоизоляции, дюбель-гвозди, универсальные и др.), метрический крепеж (болты, гайки, шайбы), а также специальный крепеж (биты, шпильки, заклепки, крепеж для кровли, сэндвич-панелей, для производства окон) и такелаж (тросы, цепи, талрепы, коуши и др.). Весь товар сертифицирован.