Официальный дилер Tech-Krep по Самарской области в г.Тольятти, ул. Обводная 3Г.
Зажим для троса с правой резьбой представляет собой такелажный элемент состоящий из резьбовой шпильки с правой резьбой с одной стороны и трубки с каналом для обжима троса с другой стороны. 
Наконечник троса с правой резьбой применяется в монтажных и такелажных работах, когда необходимо создать резьбовое соединение между тросом и транспортируемым объектом. 
Наконечник троса для обжима  с правой резьбой изготавливается из нержавеющей стали, что обеспечивает большую прочность и очень высокую антикоррозийную устойчивость.
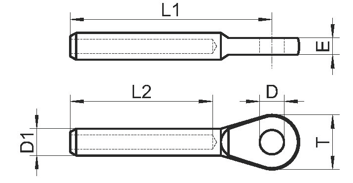
| Для троса Ø | L1 | L2 | E | D | T | D1 | Материал | 
| 2.5 | 50 | 30 | 3 | 5.4 | 13 | 5.5 | A4 | 
| 3 | 55 | 36 | 4 | 6.5 | 14 | 6.3 | A4 | 
| 4 | 65 | 39 | 6 | 8.5 | 18 | 7.5 | A4 | 
| 5 | 80 | 50 | 7 | 10 | 22 | 9 | A4 | 
| 6 | 94 | 62 | 8 | 12.5 | 28 | 12.5 | A4 | 
| 8 | 124 | 85 | 10 | 14.5 | 32 | 16 | A4 | 
| 10 | 142 | 90 | 12 | 16.4 | 36 | 18 | A4 | 
| 12 | 160 | 105 | 16 | 19.3 | 40 | 20 | A4 | 

На нашем складе доступны более 30 000 наименований крепежа и метизов: анкера (рамные, клиновые, забивные, анкерные болты), саморезы (универсальные, по дереву, по бетону, по металлу, по ГКЛ), дюбели (фасадные, для теплоизоляции, дюбель-гвозди, универсальные и др.), метрический крепеж (болты, гайки, шайбы), а также специальный крепеж (биты, шпильки, заклепки, крепеж для кровли, сэндвич-панелей, для производства окон) и такелаж (тросы, цепи, талрепы, коуши и др.). Весь товар сертифицирован.