Официальный дилер Tech-Krep по Самарской области в г.Тольятти, ул. Обводная 3Г.
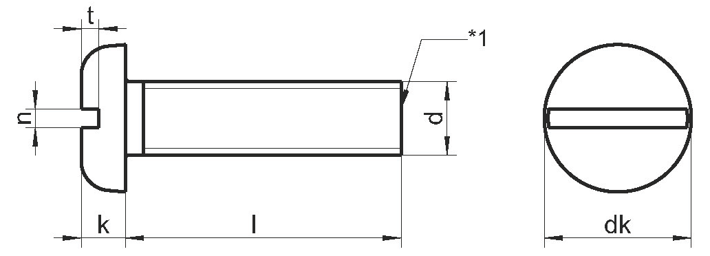
Винт с цилиндрической скругленной головкой и прямым шлицем DIN 85 представляет собой металлический стержень с полной метрической резьбой и особым, компактным типом головки. Поле допуска m6 предусматривает жёсткие требования к отклонениям размеров. Данный тип метизов формирует крепёжный узел путём вкручивания в резьбовое отверстия или скрепляет два и более элементов с помощью гаек и шайб. Последние рекомендуется использовать из такой же коррозионностойкой стали. Завинчивание винтов DIN 85 с прямым шлицем DIN 85 производят стандартной, так называемой «прямой» отверткой или электрическим инструментом.
Нержавеющие винты по DIN 85 с цилиндрической скругленной головкой предлагаются в трех десятках вариаций длин (от 3 мм до 100 мм) с номинальными размерами резьбы: М1.6, М2, М2.5, М3, М3.5, М4, М5, М6, М8 и М10. Для простоты учета, складирование и использования крепежные изделия упаковывают по 100, 200, 500 и 1000 штук в зависимости от размера изделий.
Материалом изготовления винтов с цилиндрической скругленной головкой и прямым шлицем DIN 85 являются нержавеющие, практически не магнитные аустенитные хромоникелевые стали А2 и А4 (кислотоустойчивая). Благодаря чему метизы из них не подвержены коррозии в различных агрессивных средах, обладают высокой прочностью и не выделяют токсичных веществ.
Крепежные элементы с цилиндрической скругленной головкой DIN 85 с полем допуска m6 нашли широкое применение в строительной и производственной сферах, особенно при сборке различного оборудования специального назначения.
Аналоги: ГОСТ 17473-80, ISO 1580
| dk | 3,2 | 4 | 5 | 6 | 7 | 8 | 10 | 12 | 16 | 20 | 
| k | 1 | 1,3 | 1,5 | 1,8 | 2,1 | 2,4 | 3 | 3,6 | 4,8 | 6 | 
| n | 0,4 | 0,5 | 0,6 | 0,8 | 1 | 1,2 | 1,2 | 1,6 | 2 | 2,5 | 
| t | 0,3 | 0,4 | 0,5 | 0,7 | 0,8 | 1 | 1,2 | 1,4 | 1,9 | 2,4 | 
| Длина / d | M1,6 | M2 | M2,5 | M3 | M3,5 | M4 | M5 | M6 | M8 | M10 | 
| 3 | A2 A4 | A2 A4 | A2 A4 | |||||||
| 4 | A2 A4 | A2 A4 | A2 A4 | |||||||
| 5 | A2 A4 | A2 A4 | A2 A4 | A2 A4 | A2 A4 | A2 A4 | ||||
| 6 | A2 A4 | A2 A4 | A2 A4 | A2 A4 | A2 A4 | A2 A4 | A2 A4 | A2 A4 | ||
| 8 | A2 A4 | A2 A4 | A2 A4 | A2 A4 | A2 A4 | A2 A4 | A2 A4 | A2 A4 | A2 A4 | |
| 10 | A2 A4 | A2 A4 | A2 A4 | A2 A4 | A2 A4 | A2 A4 | A2 A4 | A2 A4 | A2 A4 | |
| 12 | A2 A4 | A2 A4 | A2 A4 | A2 A4 | A2 A4 | A2 A4 | A2 A4 | A2 A4 | ||
| 14 | A2 A4 | A2 A4 | A2 A4 | A2 A4 | A2 A4 | A2 A4 | A2 A4 | A2 A4 | ||
| 16 | A2 A4 | A2 A4 | A2 A4 | A2 A4 | A2 A4 | A2 A4 | A2 A4 | A2 A4 | A2 A4 | |
| 18 | A2 A4 | A2 A4 | A2 A4 | A2 A4 | A2 A4 | A2 A4 | A2 A4 | A2 A4 | A2 A4 | |
| 20 | A2 A4 | A2 A4 | A2 A4 | A2 A4 | A2 A4 | A2 A4 | A2 A4 | A2 A4 | A2 A4 | |
| 22 | A2 A4 | A2 A4 | A2 A4 | A2 A4 | A2 A4 | A2 A4 | A2 A4 | A2 A4 | ||
| 25 | A2 A4 | A2 A4 | A2 A4 | A2 A4 | A2 A4 | A2 A4 | A2 A4 | A2 A4 | ||
| 28 | A2 A4 | A2 A4 | A2 A4 | A2 A4 | A2 A4 | A2 A4 | A2 A4 | A2 A4 | ||
| 30 | A2 A4 | A2 A4 | A2 A4 | A2 A4 | A2 A4 | A2 A4 | A2 A4 | |||
| 35 | A2 A4 | A2 A4 | A2 A4 | A2 A4 | A2 A4 | A2 A4 | A2 A4 | |||
| 40 | A2 A4 | A2 A4 | A2 A4 | A2 A4 | A2 A4 | A2 A4 | A2 A4 | |||
| 45 | A2 A4 | A2 A4 | A2 A4 | A2 A4 | A2 A4 | A2 A4 | A2 A4 | |||
| 50 | A2 A4 | A2 A4 | A2 A4 | A2 A4 | A2 A4 | A2 A4 | A2 A4 | |||
| 55 | A2 A4 | A2 A4 | A2 A4 | A2 A4 | A2 A4 | |||||
| 60 | A2 A4 | A2 A4 | A2 A4 | A2 A4 | A2 A4 | |||||
| 65 | A2 A4 | A2 A4 | A2 A4 | A2 A4 | ||||||
| 70 | A2 A4 | A2 A4 | A2 A4 | A2 A4 | ||||||
| 75 | A2 A4 | A2 A4 | A2 A4 | A2 A4 | ||||||
| 80 | A2 A4 | A2 A4 | A2 A4 | A2 A4 | ||||||
| 85 | A2 A4 | A2 A4 | A2 A4 | A2 A4 | ||||||
| 90 | A2 A4 | A2 A4 | A2 A4 | A2 A4 | ||||||
| 100 | A2 A4 | A2 A4 | A2 A4 | A2 A4 | 

На нашем складе доступны более 30 000 наименований крепежа и метизов: анкера (рамные, клиновые, забивные, анкерные болты), саморезы (универсальные, по дереву, по бетону, по металлу, по ГКЛ), дюбели (фасадные, для теплоизоляции, дюбель-гвозди, универсальные и др.), метрический крепеж (болты, гайки, шайбы), а также специальный крепеж (биты, шпильки, заклепки, крепеж для кровли, сэндвич-панелей, для производства окон) и такелаж (тросы, цепи, талрепы, коуши и др.). Весь товар сертифицирован.